
Vuelta a casa 25 años después
La periodista tendrá poder absoluto en RTVE como administradora única

La periodista tendrá poder absoluto en RTVE como administradora única

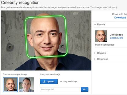
La Unión Estadounidense por las Libertades Civiles critica el uso del sistema por autoridades del país

Granjeros catalanes montaron una campaña para defender el consumo de esta leche, cuya venta ha sido aprobada por la Generalitat

L'alt tribunal descarta excarcerar els líders independentistes per la proximitat del judici

Grangers catalans van muntar una campanya per defensar el consum de llet acabada de munyir. El Govern català ha aprovat un decret que en regula la venda

Amazon estrenará en 2019 'Buenos presagios' y la segunda temporada de 'American Gods'

Veranos de la Villa, Matadero, La casa encendida, salas de música y hasta museos acogen recitales de entrada libre o muy baratos para divertirse por las noches
La creación de arte en ajedrez siempre tiene lógica, pero a veces tan escondida como en esta maravilla
El grupo con Ariel Rot y Alejo Stivel protagonizan la banda sonora de la película del superhéroe español

El evento musical iba a tener lugar en el parque, catalogado como singular

Los tres miembros del PP de Madrid que ha incorporado a su nueva ejecutiva le apoyaron

Carmen Lamela dona 24 hores a l'expresident del Barça per dipositar la quantitat sol·licitada per responsabilitat civil

Rosa María Mateo, nova administradora única de RTVE després de rebre 180 vots a favor

EL PAÍS Escaparate selecciona las 15 ofertas más destacadas en tecnología, hogar, moda, belleza, deporte, salud y artículos para bebés y niños, con descuentos de hasta el 66%

Tres caras diferentes del mejor jazz encarnadas por Endangered Blood, Marco Mezquida y los R+R = NOW de Robert Glasper firman una jornada brillante en el Jazzaldia Donostiarra

Las dotaciones a provisiones caen hasta los 238 millones, un 62,9% menos que en el primer semestre de 2017

Andrés Paya, profesor e investigador en la Universidad de Valencia y fundador del Observatorio del Juego Infantil (OJI), reflexiona acerca de una actividad “tan seria, importante y relevante como el juego”.
Por cuestiones identitarias, por un cambio en su actividad o para acceder a nuevos mercados, las marcas modifican sus denominaciones con el objetivo de seguir creciendo

El policia cobrarà prop de 76.000 euros per assessorar en matèria de sistemes de seguretat el conseller d'Interior

Derrota de les candidatures que per primer cop presentaven elaboradors extremenys i valencians

El autodenominado maestro shaolín fue juzgado por matar a dos mujeres en 2013 en el local en el que enseñaba artes marciales

América Latina es el lugar más mortífero del planeta para los defensores de la tierra y México uno de los países del mundo donde más aumentaron los homicidios

El policía cobrará cerca de 76.000 euros por asesorar en materia de sistemas de seguridad al consejero del Interior

Dos obras cervantinas para público infantil coinciden en los escenarios

Conocer el origen de la toponimia de Bustarviejo es una de las actividades de una agenda al aire libre que también cuenta con un taller sobre helados

El presidente de Venezuela ancla la moneda tradicional a la virtual petro

El Gobierno preparaba un presupuesto con recortes de gasto o subidas fiscales de 5.000 millones; el revés a los objetivos de déficit eleva el ajuste hasta los 11.000 millones en total