La firma europea presenta un proyecto que expresa su idea de la aeronave del futuro una cabina redonda, realidad virtual y pajeros de pie en clase turista
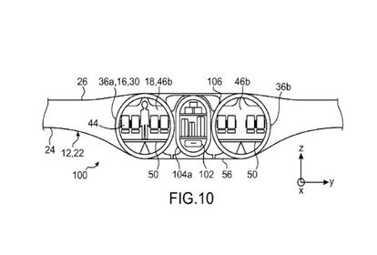
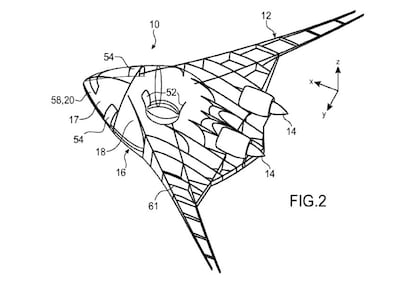
Detalle de la cabina de la avión. Airbus ha ideado carros para repartir comida cuya forma les permite recorrer los pasillos curvos de la aeronave.Plano que representa el exterior del avión, con en evidencia el agujero en el medio de la cabina.Sección longitudinal del avión. El plano describe el innovador sistema de embarque imaginado por los técnicos de Airbus.Sección del avión que muestra la cabina y la bodega de la aeronave.Plano de la parte superior del avión.